Avtrekksventil med en konstruksjon som sikrer at avtrekksluften ledes optimalt inn i ventilen fra et stort område i rommet. Ventilens bajonettfeste forenkler installasjon og etterfølgende rengjøring
Ventilen har en ramme for enkel montering i ventilasjonsrøret.
Luftmengden kan enkelt justeres ved å åpne eller lukke ventilhodet. Innstillingen kan lagres ved å låse ventilhodet på den innvendige gjengeposisjonen.
Laget av stålplate med hvitlakkert overflate.
Type | Artikkelnummer | DB-nummer |
Ø100 mm | 112249 | 5813247 |
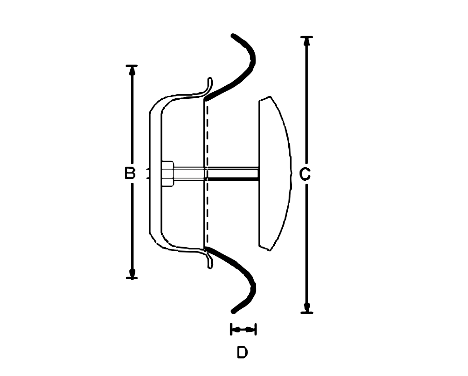
Type | B | C | D |
Ø100 mm | 100 mm | 137 mm | 12 mm
|






















































































